填料塔是指流體阻力小
瀏覽: |
2020-04-29 11:22
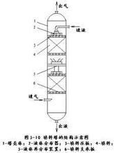
填料塔是指流體阻力小,適用于氣體處理量***而液體量小的進程。液體沿填料外表自上向下活動,氣體與液體成逆流或并流,視具體反應而定。填料塔內存液量較小。無論氣相或液相,其在塔內的活動型式均接近于活塞流。若反應進程中有固相生成,不宜采用填料塔。
填料塔在塔內充填各種形狀的填充物(稱為填料),使液體沿填料外表活動形成液膜,渙散在接連活動的氣體之中,氣液兩相接觸面在填料的液膜外表上。它屬膜狀接觸設備 。

上一篇:填料塔的質量是市場競爭的核心
下一篇:填料塔又稱填充塔



